دروس خصوصية مع الأستاذ بن أحمد
لكل مستويات الطور الثانوي في مادة العلوم الفيزيائية
إقرأ المزيدالمستوى: undefined undefined
الحصة: undefined
المجال: undefined
الوحدة: undefined
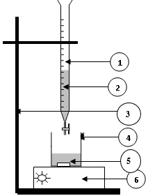
هي عملية تحليل كيميائي تهدف إلى تحديد كمية مادة محلول كيميائي يدعى المحلول المعايَر عن طريق إضافة محلول كيميائي آخر يدعى المحلول المعايِر يتفاعل معه (محلول المعايَر) بطريقة معروفة مثل تفاعل الحمض و الأساس أو تفاعل المؤكسد و المرجع باستعمال التركيب الموضح في الشكل:
هي النقطة التي يكون فيها التحول الكيميائي في الشروط الستوكيومترية أي:
إذا كان لدينا تفاعل كيميائي من الشكل:
المستوى: undefined undefined
الحصة: undefined
المجال: undefined
الوحدة: undefined
يتم التعرف على نقطة التكافؤ باستعمال كاشف ملون يغير لونه حسب الوسط الموجود فيه أو أن يتغر لون أحد شوارد المتفاعلات, الطريقة الثانية عن طريق قياس الناقلة و رسم منحنى الناقلية بدلالة حجم المحلول المعايِر
: تركيز المحلول المعايَر ب mol/L
: تركيز المحلول المعايِر ب mol/L
: حجم المحلول المعايَر ب L
: حجم المحلول المعايِر عند نقطة التكافؤ ب L
: الأعداد الستوكيومترية
نعاير حجم 10mL من محلول حمض كلور الهيدروجين تركيزه المولي مجهول بمحلول هيدروكسيد الصوديوم تركيزه المولي 0.2mol/L مع كاشف ملون مناسب, نلاحظ تغير لون الكاشف عند إضافة 5mL من محلول هيدروكسيد الصوديوم
نعاير 100mL من محلول كبريتات الحديد الثنائي تكريزه المولي مجهول, بمحلول محمض لثنائي كرومات البوتاسيوم تركيزه المولي 0.04mol/L نلاحظ أن حجم محلول نثائي كرومات البوتاسيوم المسكوب عند نقطة التكافؤ يساوي 10mL
المستوى: undefined undefined
الحصة: undefined
المجال: undefined
الوحدة: undefined
نأخذ حجم 20mL من محلول كلور الهيدروجين تركيزه مجهول. بواسطة سحاسة نضيف تدريجيا محلول هيدروكسيد الصوديوم تركيزه البيان التالي: يمثل تغيرات الناقلية للمزيج بدلالة حجم الأساس
المستوى: undefined undefined
الحصة: undefined
المجال: undefined
الوحدة: undefined
تسجيل
دروس
تمارين
دروس خصوصية